服務熱線:15195518515在線客服:1464856260
傳真號碼:0517-86801009
郵箱號碼:1464856260@qq.com
網 址:http://www.bjtyj.com.cn
地 址:江蘇省金湖縣理士大道61號
關于耐高溫強磁磁翻板液位計(液位傳感器)的設計方案解析
本文概述:目前在國內市場上生產與使用的譬如象耐高溫強磁磁翻板液位計,浮球式液位變送器都是采用的干簧管進行遠傳信號的傳輸,但是由于傳統的干簧管式液位計接觸點易產生抖動、長期穩定性差等缺點,設計了一種利用開關式霍爾元件作為敏感元件的液位傳感器,采用此元件生產的液位儀表穩定性與精確度都得到了很大的提升。本文介紹了其工作原理和設計方案,并利用ANSYS軟件對磁性浮子進行了磁場仿真計算,通過分析可根據測量精度確定所需永磁體大小,簡化工藝流程,縮減了工作量。該傳感器可根據需要輸出標準電流信號4、20 m A或數字通信RS-485,并可配備LED現場指示器,實驗表明:該傳感器具有有效距離大、不易受干擾、響應速度快、可靠性高等特點。建議有條件的單位可以加以推廣。
引言
常見的遠傳液位傳感器是利用磁鐵驅動干簧管吸合改變同路中的阻抗實現液位測量的,但是這種原理有很多缺點。由于干簧管的觸點和簧片相當小而精致,所以難以承受高壓或大電流。電流過大時,簧片會因過熱失去彈性,接觸點*易產生抖動,并且接點接觸電阻大等等。
本文設計的液位傳感器利用陣列式霍爾開關作為敏感元件感受液位變化,與耐高溫強磁磁翻板液位計配合可真止實現液位現場顯示和遠傳。耐高溫強磁磁翻板液位計是將與磁鐵組成為一體的浮球置于非磁性的金屬管中,浮球隨養管中的液位上升或下降,管外裝有指示單元,指示單元為一系列止而為白色,背而為紅色的磁性翻板組成。翻板受磁性浮球移動的吸引而翻轉1800,通過顏色的變化來指示液體的液位。指示單元還可以做成LED光柱顯示而板,同樣通過LED光柱顏色變化指示液位,行業標準為液綠汽紅[3 ]。該液位計除了木地顯示功能外,還可以配備遠傳液位傳感器,將液位信號轉換成4一20 m A電流輸出或者數字通信RS-485輸出,實現遠距離監測和}控制。該系列產品特別適合高溫高壓、高粘度、強腐蝕性條件下液位的檢測。
1傳感器工作原理

圖1傳感器結構示意圖
2傳感器設計方案
2.1電路設計

圖2 傳感器電路原理框圖
2.2磁場計算
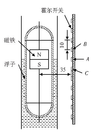
耐高溫強磁磁翻板液位計在工程上通常用于鍋爐等大型設備液位的測量,因此該液位計長度長,重量大,如若被測設備內部存在較大壓力,相應地需要將液位計的壁厚增加,勢必會導致液位計重量加大,在傳感器調試階段,需要將浮子內部的磁鐵和霍爾開關相匹配,為了避免虛假液位和保證測量的精確度,必須保證任一時刻*多只有2個霍爾開關處于開啟狀態。若僅利用試驗手段反復測試磁鐵和霍爾開關的匹配度,需要多次拆裝液位計,因此需要在設計階段準確計算出霍爾開關周圍的磁通密度,進而減少工作量[5,6]

圖3 霍爾開關與磁鐵位置圖

圖4 磁鐵與空氣層節點磁通密度云圖

圖5 35mm空氣層節點磁通密度趨勢

磁鐵大小確定后,根據阿基米德定律計算出浮子的高度,保證磁鐵的中心位置與水而處于同一位置,可根據式(1)計算得到磁鐵在浮子內的安裝位置
4結束語
磁性浮子式液位傳感器利用霍爾開關替代了干簧管,提升了傳感器的穩定性和可靠性,更適合應用于惡劣環境條件下。在結構設計中,利用ANSYS仿真軟件等輔助手段較準確地計
算出磁性浮子的磁場分布,根據測量精確度、霍爾開關的磁場強度閡值、霍爾開關到浮子的距離等己知條件計算出浮子內磁鐵的大小,簡化了工藝流程,減少了工作量。在程序設計時,
同一時刻僅使一只霍爾開關處于工作狀態,降低了功耗,避免了虛假液位。




|